Elektrogoniometer
Zweiachs-Goniometer
Zweiachsige Goniometer (SG-Serie) messen gleichzeitig Winkel in bis zu zwei Bewegungsebenen. Zur Messung der Handgelenksbewegungen werden die Endblöcke des Goniometers z. B. mit doppelseitigem Klebeband (T10) auf der Rȕckenoberfläche befestigt, das eine Ende über dem dritten Mittelhandknochen, das andere über der Mittellinie des Unterarms, wobei sich das Handgelenk in der neutralen Position befindet.
Das Goniometer verfügt über zwei separate Ausgangsanschlüsse, einer misst die Flexion/Extension, der andere die radiale/ulnare Abweichung. Bei der Messung eines einachsigen Gelenks, wie z. B. des Kniegelenks oder des Ellenbogens, oder bei der Messung einer einzelnen Ebene eines zweiachsigen Gelenks, wird einfach nur ein Kanal angeschlossen, der andere bleibt ueberflȕssig. Alle zweiachsigen Goniometer arbeiten auf die gleiche Weise, der Unterschied besteht in der physikalischen Größe.
Vollständige Spezifikationen
Drahtlose zweiachsige Goniometer | Kabelgebundene biaxiale Goniometer | |||||||||||||||||||||||||||||||||||||||||||||||||||||||||||||||||||||||||||||||||||||||||||||||||||||||||||||||||||||||||||||||||||||||||||
---|---|---|---|---|---|---|---|---|---|---|---|---|---|---|---|---|---|---|---|---|---|---|---|---|---|---|---|---|---|---|---|---|---|---|---|---|---|---|---|---|---|---|---|---|---|---|---|---|---|---|---|---|---|---|---|---|---|---|---|---|---|---|---|---|---|---|---|---|---|---|---|---|---|---|---|---|---|---|---|---|---|---|---|---|---|---|---|---|---|---|---|---|---|---|---|---|---|---|---|---|---|---|---|---|---|---|---|---|---|---|---|---|---|---|---|---|---|---|---|---|---|---|---|---|---|---|---|---|---|---|---|---|---|---|---|---|---|---|---|---|
Anzahl der Achsen | 2 | |||||||||||||||||||||||||||||||||||||||||||||||||||||||||||||||||||||||||||||||||||||||||||||||||||||||||||||||||||||||||||||||||||||||||||
Digitale Eingänge | 2 | 0 | ||||||||||||||||||||||||||||||||||||||||||||||||||||||||||||||||||||||||||||||||||||||||||||||||||||||||||||||||||||||||||||||||||||||||||
Auflösung | + 0.1º in einem Bereich von 180º | |||||||||||||||||||||||||||||||||||||||||||||||||||||||||||||||||||||||||||||||||||||||||||||||||||||||||||||||||||||||||||||||||||||||||||
Bandbreite | Von DC bis 1 KHz (+0dB/-3dB) | |||||||||||||||||||||||||||||||||||||||||||||||||||||||||||||||||||||||||||||||||||||||||||||||||||||||||||||||||||||||||||||||||||||||||||
Vollausschlag | ±180º | |||||||||||||||||||||||||||||||||||||||||||||||||||||||||||||||||||||||||||||||||||||||||||||||||||||||||||||||||||||||||||||||||||||||||||
Genauigkeit | ± 2º gemessen über einen Bereich von ± 90º | |||||||||||||||||||||||||||||||||||||||||||||||||||||||||||||||||||||||||||||||||||||||||||||||||||||||||||||||||||||||||||||||||||||||||||
Wiederholbarkeit | 1º gemessen über einen Bereich von 90º | |||||||||||||||||||||||||||||||||||||||||||||||||||||||||||||||||||||||||||||||||||||||||||||||||||||||||||||||||||||||||||||||||||||||||||
Wandlertyp | Dehnungsmessstreifen | |||||||||||||||||||||||||||||||||||||||||||||||||||||||||||||||||||||||||||||||||||||||||||||||||||||||||||||||||||||||||||||||||||||||||||
Leben1 | 600.000 Zyklen | |||||||||||||||||||||||||||||||||||||||||||||||||||||||||||||||||||||||||||||||||||||||||||||||||||||||||||||||||||||||||||||||||||||||||||
Betriebstemperaturbereich | +10 °C bis +40 °C | |||||||||||||||||||||||||||||||||||||||||||||||||||||||||||||||||||||||||||||||||||||||||||||||||||||||||||||||||||||||||||||||||||||||||||
Temperaturnullpunktdrift | 0,15 Grad Winkel / ºC | |||||||||||||||||||||||||||||||||||||||||||||||||||||||||||||||||||||||||||||||||||||||||||||||||||||||||||||||||||||||||||||||||||||||||||
Batterielebensdauer | Bis zu 12 Stunden | N/A | ||||||||||||||||||||||||||||||||||||||||||||||||||||||||||||||||||||||||||||||||||||||||||||||||||||||||||||||||||||||||||||||||||||||||||
Batterietyp | Wiederaufladbares Lithium-Ionen-Polymer | N/A | ||||||||||||||||||||||||||||||||||||||||||||||||||||||||||||||||||||||||||||||||||||||||||||||||||||||||||||||||||||||||||||||||||||||||||
Datenverlust bei der drahtlosen Übertragung | Tolerant für 100 mS | N/A | ||||||||||||||||||||||||||||||||||||||||||||||||||||||||||||||||||||||||||||||||||||||||||||||||||||||||||||||||||||||||||||||||||||||||||
Reichweite von Schnittstelle | Funkreichweite bis zu 30m | Verfügbare Kabellängen: 500 mm, 1000 mm, 1500 mm (Sonderlängen auf Anfrage erhältlich) |
||||||||||||||||||||||||||||||||||||||||||||||||||||||||||||||||||||||||||||||||||||||||||||||||||||||||||||||||||||||||||||||||||||||||||
Verfügbare Größen | Klicken, um anzuzeigen
Drahtlose zweiachsige GoniometerIm Allgemeinen gibt es keine festen Regeln dafür, welche Sensorgröße für ein bestimmtes Gelenk am besten geeignet ist; Dies hängt von der Größe des Motivs ab. Der Sensor muss über das Gelenk reichen können, damit die beiden Endblöcke dort montiert werden können, wo die geringste Bewegung zwischen der Haut und der darunter liegenden Skelettstruktur auftritt. Unter bestimmten Umständen ist mehr als eine Sensorgröße geeignet. Die folgende Tabelle dient nur zur Orientierung und bezieht sich auf eine erwachsene Bevölkerung. Die verwendete Größe variiert innerhalb der Pädiatrie. ![]()
(Maße in mm) |
Klicken, um anzuzeigen
Kabelgebundene Doppelachsen-GoniometerGrundsätzlich gibt es keine festen Regeln, welche Größe des Sensors für ein bestimmtes Gelenk am besten geeignet ist; dies hängt von der Größe des Probanden ab. Der Sensor muss über das Gelenk greifen können, damit die beiden Endblöcke dort montiert werden können, wo die geringste Bewegung zwischen Haut und Skelettstruktur stattfindet. Unter bestimmten Umständen ist mehr als eine Sensorgröße geeignet. Die folgende Tabelle dient nur zur Orientierung und bezieht sich auf eine erwachsene Bevölkerung. Die verwendete Größe variiert innerhalb der Pädiatrie. ![]()
(Maße in mm) |
||||||||||||||||||||||||||||||||||||||||||||||||||||||||||||||||||||||||||||||||||||||||||||||||||||||||||||||||||||||||||||||||||||||||||
Kompatible Schnittstellen | DataLITE PIONEER, ADVANCE, EXPLORE | DataLOG, DataLINK, Amplifier oder Dritte |
Goniometrische Daten umfassen: Winkelverschiebungen, Geschwindigkeiten und Beschleunigungen; Min., Max., Mittelwert, Wiederholungen, Anzahl der Ereignisse über oder unter einem festgelegten Schwellenwert, Prozentsatz der Zeit, die innerhalb und außerhalb der festgelegten Grenzen verbracht wurde, Zeit bis zum Erreichen von Min/Max usw.
1Lebenstestergebnisse wurden gesammelt, indem die Sensoren durch Bewegungen, die während des täglichen Gebrauchs auftreten würden, zykliert wurden. Wenn Sie beispielsweise einen Sensor an einem Ellenbogen eines Erwachsenen platzieren und sich von der neutralen Position in die maximale Flexion und zurück in die neutrale Position bewegen, funktioniert die Einheit für 600.000 Zyklen.

Zweiachsiges Knöchelgoniometer
Speziell für die Messung der Knöchelbewegung in zwei Ebenen entwickelt. An der lateralen Seite des Knöchels angebracht, misst das SG110/A gleichzeitig die Dorsalflexion/Plantarflexion und die Inversion/Eversion des Knöchels. Diese seitliche Anordnung des Goniometers ist seit vielen Jahren die bevorzugte Wahl der Kunden. Der Standard SG110 ist auch für Kunden erhältlich, die eine posteriore Platzierung am Knöchel wünschen.
Kompatible Schnittstellen: DataLITE, DataLOG, DataLINK, Amplifier oder Dritte
Kabelloses zweiachsiges Goniometer

Gelenk | Ausgabe | Anzahl der Kanäle | A Max | A Min | B | C | D | E | F | G | Gewicht (g) | |
---|---|---|---|---|---|---|---|---|---|---|---|---|
W110A | Knöchel | Dorsalflexion/Plantarflexion, Inversion/Eversion | 2 | 110 | 70 | 60 | 18 | 21.5 | 56 | 12 | 8.5 | 20 |
(Maße in mm)
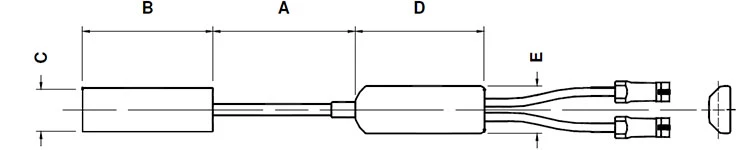
Kabelgebundenes zweiachsiges Knöchelgoniometer

Gelenk | Ausgabe | Anzahl der Kanäle | A Max | A Min | B | C | D | E | F | G | Gewicht (g) | |
---|---|---|---|---|---|---|---|---|---|---|---|---|
SG110/A | Knöchel | Dorsalflexion/Plantarflexion, Inversion/Eversion | 2 | 110 | 70 | 60 | 18 | 19 | 51 | 5.70 | 8.70 | 20 |
(Maße in mm)
Einachs-Goniometer
Das einachsige Goniometer von Biometrics misst nur Winkel in einer Ebene. Dieses kleinste Goniometer wurde zur Messung der Beugung/Streckung der Fingergelenke entwickelt und ist als kabelloser (F35W) oder kabelgebundener (F35) Sensor erhältlich.
Kompatible Schnittstellen: DataLITE, DataLOG, DataLINK, Amplifier oder Dritte
Drahtloses einachsiges Goniometer

Gelenk | Ausgabe | Anzahl der Kanäle | A | B | C | D Min | D Max | E | F | G | H | I | |
---|---|---|---|---|---|---|---|---|---|---|---|---|---|
F35W | Finger (DIP, PIP, MCP) | Beugung/Streckung | 1 | 9 | 6 | 18 | 30 | 35 | 15 | 300 (mm) | 56 | 12 | 22 |
(Maße in mm)
Kabelgebundenes einachsiges Goniometer

Gelenk | Ausgabe | Anzahl der Kanäle | A | B | C | D Min | D Max | E | F | G | H | I | |
---|---|---|---|---|---|---|---|---|---|---|---|---|---|
F35 | Finger (DIP, PIP, MCP) | Beugung/Streckung | 1 | 9 | 6 | 18 | 30 | 35 | 15 | 340 (mm) | 40 | 10 | 10 |
(Maße in mm)
Goniometer-Sensoren und -Systeme werden häufig in den Bereichen Ergonomie, Sportwissenschaft und medizinische Forschung eingesetzt, wo häufig Messungen für eine Vielzahl von Anwendungen durchgeführt werden, wie zum Beispiel:

Goniometer-Systeme
Technologisch fortschrittliches und dennoch kostengünstiges Sortiment an Goniometer-Datenerfassungssystemen mit vollständiger Portabilität und Echtzeit-Anzeige- und Analyseoptionen